Craftsman Lawn Tractor Solenoid Wiring Diagram

Starter Solenoid Wiring Diagram For Lawn Mower 2 Electrical Diagram Lawn Tractor Riding Lawn Mowers

Starter Solenoid Wiring Diagram For Lawn Mower 2 Electrical Diagram Lawn Tractor Riding Lawn Mowers

Pin On Diagrama Electrico De Tractores

Pin On Diagrama Electrico De Tractores

Pin On Diagrama Electrico De Tractores

Pin On Diagrama Electrico De Tractores

Craftsman Riding Mower Electrical Diagram Wiring Diagram Craftsman Riding Lawn Mower I Need One F Craftsman Riding Lawn Mower Riding Lawn Mowers Riding Mower

Craftsman Riding Mower Electrical Diagram Wiring Diagram Craftsman Riding Lawn Mower I Need One F Craftsman Riding Lawn Mower Riding Lawn Mowers Riding Mower

Pin On Diagrama Electrico De Tractores

Pin On Diagrama Electrico De Tractores

Pin On Mowers

Pin On Mowers

Pin On Mowers

Wiring diagram for craftsman riding lawn mower collection.

Craftsman lawn tractor solenoid wiring diagram. Wiring diagram yard machine lawn tractor 2018 wiring diagram for. Craftsman lawn tractor wiring diagram collections of wiring diagram for ignition switch lawn mower save craftsman. Wiring diagram for craftsman riding lawn mower wiring diagram for craftsman riding lawn mower every electrical structure is composed of various different pieces.

If not the structure won t function as it ought to be. Diagram in pictures database superwinch lt2000 wiring just or read odometer onyxum com craftsman solenoid scematic i have a lt3000 riding lawn mower model 917 tractor lt 1000 gallery 4k wallpapers for vm 3594 sears lt1000 full version hd quality basketeatingdiagram k danse fr electrical issue stumped bob is the oil guy cv 5580 free 917273140 ereplacementparts starter read more. Bb00c lawn tractor solenoid wiring diagram digital resources starter solenoid wiring diagram from battery to solenoid how to rewire a riding lawn mower super easy youtube.

Each part should be placed and connected with other parts in specific manner. Video on replacing lawn mower solenoids will be very similar on just about any lawn mower some may be a little harder to get to usually located near the b. Craftsman riding lawn mower solenoid wiring diagram by color will definitely help you in increasing the efficiency of your work.

Craftsman Riding Mower Electrical Diagram Riding Mower For Sale Electrical Diagram Small Engine Engine Repair

Craftsman Riding Mower Electrical Diagram Riding Mower For Sale Electrical Diagram Small Engine Engine Repair

Image Result For Craftsman Gt 5000 Lawn Mower Wiring Diagram Riding Mower Craftsman Riding Lawn Mower Lawn Mower Repair

Image Result For Craftsman Gt 5000 Lawn Mower Wiring Diagram Riding Mower Craftsman Riding Lawn Mower Lawn Mower Repair

Wiring Diagram Mtd Lawn Tractor Wiring Diagram And By 4 Post Solenoid Wiring Diagram 42a707 Yardman Lawn Bes Electrical Diagram Riding Lawn Mowers Lawn Tractor

Wiring Diagram Mtd Lawn Tractor Wiring Diagram And By 4 Post Solenoid Wiring Diagram 42a707 Yardman Lawn Bes Electrical Diagram Riding Lawn Mowers Lawn Tractor

Wiring Diagram Mtd Lawn Tractor Wiring Diagram And By Mtd Yard Machine Wiring Diagram Wiring Diagram And Kohler Engines Lawn Tractor Kohler

Wiring Diagram Mtd Lawn Tractor Wiring Diagram And By Mtd Yard Machine Wiring Diagram Wiring Diagram And Kohler Engines Lawn Tractor Kohler

Craftsman Riding Mower Electrical Diagram Wiring Diagram Craftsman Riding Lawn Mower I Need Craftsman Riding Lawn Mower Riding Lawn Mowers Lawn Mower Repair

Craftsman Riding Mower Electrical Diagram Wiring Diagram Craftsman Riding Lawn Mower I Need Craftsman Riding Lawn Mower Riding Lawn Mowers Lawn Mower Repair

Solenoid Wiring Diagram We Are Not Responsible For Any Injury On Yourself Png 498 411 Automotive Repair Shop Automotive Repair Auto Repair

Solenoid Wiring Diagram We Are Not Responsible For Any Injury On Yourself Png 498 411 Automotive Repair Shop Automotive Repair Auto Repair

Wiring Diagram Mtd Lawn Tractor Wiring Diagram And By Wiring Diagram For 1989 Mtd Lawn Mower Readingrat Net Diagram Lawn Tractor Tractors

Wiring Diagram Mtd Lawn Tractor Wiring Diagram And By Wiring Diagram For 1989 Mtd Lawn Mower Readingrat Net Diagram Lawn Tractor Tractors

10 Small Engine Starter Switch Wiring Diagram Engine Diagram Wiringg Net In 2020 Boat Wiring Kill Switch Electrical Wiring Diagram

10 Small Engine Starter Switch Wiring Diagram Engine Diagram Wiringg Net In 2020 Boat Wiring Kill Switch Electrical Wiring Diagram

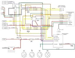
Craftsman Riding Mower Wiring Schematic Riding Mower Craftsman Riding Lawn Mower Lawn Mower Repair

Craftsman Riding Mower Wiring Schematic Riding Mower Craftsman Riding Lawn Mower Lawn Mower Repair

Craftsman Riding Mower Electrical Diagram Hello I Have A Craftsman Riding Mower Modelnnn Nn Nnnnwi Craftsman Riding Lawn Mower Riding Mower Lawn Mower Repair

Craftsman Riding Mower Electrical Diagram Hello I Have A Craftsman Riding Mower Modelnnn Nn Nnnnwi Craftsman Riding Lawn Mower Riding Mower Lawn Mower Repair

Wiring Diagram Mtd Lawn Tractor Wiring Diagram And By Lawn Mower Ignition Switch Wiring Diagram And Gif Fair Mtd Diagram Design Yard Machine Diagram

Wiring Diagram Mtd Lawn Tractor Wiring Diagram And By Lawn Mower Ignition Switch Wiring Diagram And Gif Fair Mtd Diagram Design Yard Machine Diagram

Pin On Auto Maintenance And Repair

Pin On Auto Maintenance And Repair

I Found This Helpful Answer From A Technician On Justanswer Com Craftsman Riding Lawn Mower Riding Lawn Mowers Riding Mower

I Found This Helpful Answer From A Technician On Justanswer Com Craftsman Riding Lawn Mower Riding Lawn Mowers Riding Mower

Kohler Engine Electrical Diagram Craftsman 917 270930 Wiring Diagram I Colored A Few Wires To Mak Engineering Electrical Diagram Craftsman Riding Lawn Mower

Kohler Engine Electrical Diagram Craftsman 917 270930 Wiring Diagram I Colored A Few Wires To Mak Engineering Electrical Diagram Craftsman Riding Lawn Mower

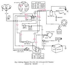
Wiring Diagram For Briggs And Stratton 18 Hp Readingrat Net Wiring Forums Lawn Tractor Riding Lawn Mowers Craftsman Riding Lawn Mower

Wiring Diagram For Briggs And Stratton 18 Hp Readingrat Net Wiring Forums Lawn Tractor Riding Lawn Mowers Craftsman Riding Lawn Mower

Universal Ignition Switch Wiring Diagram Boat Wiring Kill Switch Electrical Wiring Diagram

Universal Ignition Switch Wiring Diagram Boat Wiring Kill Switch Electrical Wiring Diagram

Pin On Circuito Electrico De Tractor Mtd

Pin On Circuito Electrico De Tractor Mtd

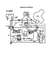
Wiring Harness Diagram Parts List For Model Zt2560 Swisher Parts Riding Mower Tractor Parts Searspartsdirect Riding Mower Mower Craftsman Lawn Mower Parts

Wiring Harness Diagram Parts List For Model Zt2560 Swisher Parts Riding Mower Tractor Parts Searspartsdirect Riding Mower Mower Craftsman Lawn Mower Parts

Https Encrypted Tbn0 Gstatic Com Images Q Tbn And9gcsmlydb2cp74y9klwrfkuzpfjedkz8wkt6rqw1xjzjdks2unot4 Usqp Cau

Https Encrypted Tbn0 Gstatic Com Images Q Tbn And9gcsmlydb2cp74y9klwrfkuzpfjedkz8wkt6rqw1xjzjdks2unot4 Usqp Cau

Pin On Diy

Pin On Diy

Wiring Diagram Mtd Lawn Tractor Wiring Diagram And By Wiring Diagram For Huskee Lawn Tractor Smartproxy Info Riding Lawn Mowers Lawn Mower Repair Lawn Mower

Wiring Diagram Mtd Lawn Tractor Wiring Diagram And By Wiring Diagram For Huskee Lawn Tractor Smartproxy Info Riding Lawn Mowers Lawn Mower Repair Lawn Mower

Wiring Diagram Mtd Lawn Tractor Wiring Diagram And By Mtd Lawn Mower Electrical Diagram Wiring Forums Electrical Diagram Diagram Electrical Wiring Diagram

Wiring Diagram Mtd Lawn Tractor Wiring Diagram And By Mtd Lawn Mower Electrical Diagram Wiring Forums Electrical Diagram Diagram Electrical Wiring Diagram

Pin On Small Engine

Pin On Small Engine

Pin On Lawnmower Repair

Pin On Lawnmower Repair

Source : pinterest.com

Random Posts