Draw Circuit Diagram Of Potentiometer To Compare The Emf Of Two Cells

Https Www Topperlearning Com Answer Draw A Circuit Diagram To Compare The Emf Of Two Primary Cells Write The Formula Used How Can The Sensitivity Of A Potentiometer Be Increased Or Draw Yvnf0sjtt

Https Www Topperlearning Com Answer Draw A Circuit Diagram To Compare The Emf Of Two Primary Cells Write The Formula Used How Can The Sensitivity Of A Potentiometer Be Increased Or Draw Yvnf0sjtt

State The Principle Of Potentiometer Draw A Circuit Diagram Used To Compare The Emf Of Two Primary Cells Write The Formula Used How Can The Sensitivity Of A Potentiometer Be Increased From

State The Principle Of Potentiometer Draw A Circuit Diagram Used To Compare The Emf Of Two Primary Cells Write The Formula Used How Can The Sensitivity Of A Potentiometer Be Increased From

To Compare The Emf Of Two Given Primary Cells Using Potentiometer Learn Cbse

To Compare The Emf Of Two Given Primary Cells Using Potentiometer Learn Cbse

To Compare Emf Of Two Given Primary Cells Using Potentiometer Notes For Free

To Compare Emf Of Two Given Primary Cells Using Potentiometer Notes For Free

Draw Labelled Circuit Diagram Of A Potentiometer To Compare Emfs Of Two Cells Write The Working Formula Derivation Not Required

Draw Labelled Circuit Diagram Of A Potentiometer To Compare Emfs Of Two Cells Write The Working Formula Derivation Not Required

To Compare The E M F S Of Two Cells By Using A Potentiometer Physics Homework Help Physics Assignments And Projects Help Assignments Tutors Online

To Compare The E M F S Of Two Cells By Using A Potentiometer Physics Homework Help Physics Assignments And Projects Help Assignments Tutors Online

To Compare The E M F S Of Two Cells By Using A Potentiometer Physics Homework Help Physics Assignments And Projects Help Assignments Tutors Online

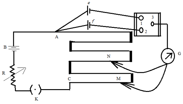
See that e e 1 and also e e 2.

Draw circuit diagram of potentiometer to compare the emf of two cells. Potentiometer are commonly used to control electrical devices such as volume controls on audio equipment. 40 7 the points d and f may be considered as the two terminals of a voltmeter. Write the formula used.

Arrange the apparatus as shown in the circuit diagram. Draw a circuit diagram to compare the emf of two primary cells. By closing key k 1 the cell e 1 is included in the circuit.

The circuit diagram of the potentiometer is as. Where e 1 and e 2 are the e m f. Connect the positive poles of the cells to the terminal and the negative poles to the terminal a and b of the two way key.

E of the battery and the e m fs. A potentiometer wire of length 200 cm has a resistance 10 ω. Insert the plug in the key k and also in between the terminals a and c of the two way key.

From the figure connect points 1 and 3 together with balance point at point n1 where an 1 l 1 now connect points 2 and 3 together with balance point at point n. Draw a labelled circuit diagram of a potentiometer to compare emfs of two cells. Using a voltmeter it is possible to measure only the potential difference between the two terminals of a cell but using a potentiometer we can determine the value of emf of a given cell.

Write the working formula derivation not required. When the key k is closed a constant current flows the potentiometer wire. Asked jul 18 in physics by aalaya 47 6k points.

Draw A Circuit Diagram Used To Compare The Emf Of Two Primary Cells What Are The Formulae Used Study Com

Draw A Circuit Diagram Used To Compare The Emf Of Two Primary Cells What Are The Formulae Used Study Com

Uses Of Potentiometer Comparison Of Emf Of Two Cells Using Potentiometer

Uses Of Potentiometer Comparison Of Emf Of Two Cells Using Potentiometer

Draw A Circuit Diagram To Compare The Emfs Of Two Primary Cells Derive The Formual Used How Can The Brainly In

Draw A Circuit Diagram To Compare The Emfs Of Two Primary Cells Derive The Formual Used How Can The Brainly In

To Compare Emf Of Two Given Primary Cell Using Potentiometer Hindi Physics Practicals Section A Iit Jee Unacademy

To Compare Emf Of Two Given Primary Cell Using Potentiometer Hindi Physics Practicals Section A Iit Jee Unacademy

Comparison Of Emfs Of Two Given Cells Using Potentiometer Qs Study

Comparison Of Emfs Of Two Given Cells Using Potentiometer Qs Study

Describe The Experiment To Compare The E M F Of Two Cells Using Potentiometer Under The Following Points I Labelled Electric Circuit Diagram Ii Derivation Of Formula Iii Observation Table Iv Two Precautions

Describe The Experiment To Compare The E M F Of Two Cells Using Potentiometer Under The Following Points I Labelled Electric Circuit Diagram Ii Derivation Of Formula Iii Observation Table Iv Two Precautions

To Compare The Emfs Of Two Given Primary Cells Using A Potentiometer Labappara Scientific Instrument Https Www Labappara Com

To Compare The Emfs Of Two Given Primary Cells Using A Potentiometer Labappara Scientific Instrument Https Www Labappara Com

Draw A Labelled Circuit Diagram Of A Potentiometer Class 12 Physics Cbse

Draw A Labelled Circuit Diagram Of A Potentiometer Class 12 Physics Cbse

Explain The Principle Of A Potentiometer How Can Emf Of Two Cells Be Compared Using Potentiometer Brainly In

Explain The Principle Of A Potentiometer How Can Emf Of Two Cells Be Compared Using Potentiometer Brainly In

State The Working Principle Of A Potentiometer With The Help Of The Circuit Diagram Explain How A Potentiometer Is Used To Compare The Emf S Of Two Primary Cells Physics Shaalaa Com

State The Working Principle Of A Potentiometer With The Help Of The Circuit Diagram Explain How A Potentiometer Is Used To Compare The Emf S Of Two Primary Cells Physics Shaalaa Com

Draw A Labelled Circuit Diagram Of A Potentiometer To Compare Emfs Of Two Cells Write The Working Formula Derivation Not Required Sarthaks Econnect Largest Online Education Community

Draw A Labelled Circuit Diagram Of A Potentiometer To Compare Emfs Of Two Cells Write The Working Formula Derivation Not Required Sarthaks Econnect Largest Online Education Community

State The Working Principle Of A Potentiometer Draw A Circuit Diagram To Compare The Emf Of Two Primary Cells Physics Current Electricity 13029713 Meritnation Com

State The Working Principle Of A Potentiometer Draw A Circuit Diagram To Compare The Emf Of Two Primary Cells Physics Current Electricity 13029713 Meritnation Com

Write The Principle Of Working Of A Potentiometer Describe Briefly With The Help Of A Circuit Diagram How A Potentiometer Is Used To Determine The Int Physics Topperlearning Com Zlfiycuoo

Write The Principle Of Working Of A Potentiometer Describe Briefly With The Help Of A Circuit Diagram How A Potentiometer Is Used To Determine The Int Physics Topperlearning Com Zlfiycuoo

Find The Expression Of The Comparison Of E M F S Of Two Cells By A Potentiometer Sarthaks Econnect Largest Online Education Community

Find The Expression Of The Comparison Of E M F S Of Two Cells By A Potentiometer Sarthaks Econnect Largest Online Education Community

State The Principle Of Potentiometer Draw A Circuit Diagram Used To Compare The Emf Of Two Primary Brainly In

State The Principle Of Potentiometer Draw A Circuit Diagram Used To Compare The Emf Of Two Primary Brainly In

Describe The Use Of A Potentiometer To Compare The Emf S Of Two Ce

Describe The Use Of A Potentiometer To Compare The Emf S Of Two Ce

To Determine The Internal Resistance Of A Given Primary Cell Using Potentiometer Learn Cbse

To Determine The Internal Resistance Of A Given Primary Cell Using Potentiometer Learn Cbse

Draw A Labelled Circuit Diagram Of A Potentiometer To Compare Emfs Of Two Cells Write The Working Formula Derivation Not Required Physics Theory Shaalaa Com

Draw A Labelled Circuit Diagram Of A Potentiometer To Compare Emfs Of Two Cells Write The Working Formula Derivation Not Required Physics Theory Shaalaa Com

Https Encrypted Tbn0 Gstatic Com Images Q Tbn And9gcqrkwbt Uukh7wtpbflmsw6e5mocmxb1c7pkru5acvpqbw3iswa Usqp Cau

Https Encrypted Tbn0 Gstatic Com Images Q Tbn And9gcqrkwbt Uukh7wtpbflmsw6e5mocmxb1c7pkru5acvpqbw3iswa Usqp Cau

Describe Briefly With The Help Of A Circuit Diagram How A Potentiometer Is Used To Determine The Internal Resistance Of Cell

Describe Briefly With The Help Of A Circuit Diagram How A Potentiometer Is Used To Determine The Internal Resistance Of Cell

State The Working Principle Of A Potentiometer With The Help Of The Circuit Diagram Explain How A Potentiometer Is Used To Compare Sarthaks Econnect Largest Online Education Community

State The Working Principle Of A Potentiometer With The Help Of The Circuit Diagram Explain How A Potentiometer Is Used To Compare Sarthaks Econnect Largest Online Education Community

Write The Principle Of Working Of A Potentiometer Describe Briefly With The Help Of A Circuit Diagram Sarthaks Econnect Largest Online Education Community

Write The Principle Of Working Of A Potentiometer Describe Briefly With The Help Of A Circuit Diagram Sarthaks Econnect Largest Online Education Community

A State The Working Principle Of A Potentiometer With The Help Of The Circuit Diagram Sarthaks Econnect Largest Online Education Community

A State The Working Principle Of A Potentiometer With The Help Of The Circuit Diagram Sarthaks Econnect Largest Online Education Community

Describe The Experiment To Find Internal Resistance Of A Cell By Potentiometer Under The Following Points I Labelled Electric Circuit Diagram Ii Derivation Of Formula Iii Observation Table Iv Two Precautions

Describe The Experiment To Find Internal Resistance Of A Cell By Potentiometer Under The Following Points I Labelled Electric Circuit Diagram Ii Derivation Of Formula Iii Observation Table Iv Two Precautions

Source : pinterest.com

Random Posts